Zumindest ist es schon mal patentiert, das neue, zukünftige Flugzeug. Jetzt muss der russische Luftfahrtkonzern UAC nur noch Mittel und Wege finden, den Großraumjet mit dem pragmatischen Projektnamen SchFDMS (Abkürzung für "Großraum-Langstreckenflugzeug") auch physisch zum Leben zu erwecken. Die Notwendigkeit dafür liegt auf der Hand: Der einzige Widebody-Passagierjet, den Russland in den vergangenen dreieinhalb Jahrzehnten baute, ist die Iljuschin Il-96. Und die ist, auch wenn man immer noch an ihr herumschraubt und mit der Il-96-400M gar eine verbesserte Version in die Luft brachte, nun einmal hoffnungslos veraltet. Daran ändern auch die Planspiele diverser Kreise, den Vierstrahler mittels neuer, noch in Entwicklung befindlicher Triebwerke zum Zweistrahler umzurüsten, nur bedingt etwas – basiert der Grundentwurf doch auf den Technologien von vorgestern.
Das soll beim SchFDMS nach Vorstellung von UAC vollkommen anders werden. Das Patent, über das die Nachrichtenagentur Tass zuerst berichtete, sieht ein komplett neu konstruiertes Flugzeug mit zwei Triebwerken, konventionellem Rumpf und hoher Flügelstreckung vor, das – anders als die Il-96 – zu großen Teilen aus modernen Verbundwerkstoffen bestehen soll. "Das Flugzeug, das dem Entwurf am nächsten kommt, ist Dreamliner Boeing 787-9", kommentiert die Tass.

Der patentierte russische Widebody-Entwurf nimmt sich die Boeing 787 zum Vorbild - soll aber sparsamer werden.
Boeing 787 als Benchmark
Gegenüber der 787 aus den USA soll das neue russische Pendant allerdings sparsamer und effizienter sein – und zudem auf die spezifischen Gegebenheiten Russlands mit rauen Klimazonen und teilweise spartanischer Flughafen-Infrastruktur maßgeschneidert sein. Ob das heißt, dass Passagiere – wie einst in der Iljuschin Il-86 – beim Einsteigen über bordeigene Treppen durch den Rumpfbauch ihr Gepäck selbst verladen sollen, bleibt unkommentiert, wenngleich in den Patentskizzen nichts auf solche Eigenschaften hindeutet. Stattdessen betont UAC, dass das Design des neuen SchFDMS mit "Sabrelets" an den Flügelenden die etablierte US-Konkurrenz wirtschaftlich in den Schatten stellen soll: drei bis sechs Prozent günstigere Betriebskosten als bei der 787-9 veranschlagt die Patentbeschreibung für das "Basismodell" des SchFDMS. Die Betriebskosten pro Sitzkilometer sollen jene der 787-9 gar um elf bis 13 Prozent unterbieten.

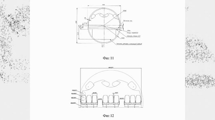
Runder Querschnitt und Neunerreihen mit zwei Gängen in der Kabine: So plant UAC den Rumpf des SchFDMS.
Drei Varianten geplant
UAC plant seinen neuen Entwurf nach eigenem Bekunden als Flugzeugfamilie mit der Ausgangsvariante SchFDMS-600 für 281 Passagiere, der verkürzten SchFDMS-500 für 236 Passagiere sowie der gestreckten SchFDMS-700, die in Drei-Klassen-Auslegung bis zu 320 Fluggäste aufnehmen soll. Allen gemeinsam ist die Sitzanordnung in Neunerreihen mit je drei Sitzen links und rechts sowie in der Mitte. Die Reichweite gibt der russische Staatskonzern mit bis zu 13.600 Kilometer an.
CRAIC CR929 als Basis
Es ist, beim Anblick der Skizzen und der veranschlagten technischen Daten, wenig überraschend, dass der von UAC in Russland patentierte Entwurf sich in weiten Teilen mit jenem der CRAIC CR929 deckt – jenem 787-Pendant, an dem Russland und China bis 2023 jahrelang gemeinsam gearbeitet hatten und das China nach dem nicht ganz unfreiwilligen Ausstieg der Russen nun als C929 alleine weiterverfolgt. Da die Designarbeiten für die CR929 zum Großteil Aufgabe der russischen Seite war, kann UAC in dieser Hinsicht auf einen soliden Grundstock zurückblicken. Bereits 2021 liefen beim Zentralen Aerohydrodynamischen Institut (ZAGI) in Schukowski entsprechende Windkanalversuche mit einem Modell, das in weiten Teilen dem SchFDMS-Konzept ähnelt. Im Unterschied zur C(R)929, die auch auf Komponenten westlicher Zulieferer aufbaut(e), soll der neue russische Widebody allerdings möglichst komplett aus einheimischen Teilen und Systemen bestehen – notgedrungen, angesichts der westlichen Sanktionen, für deren zeitnahe Aufhebung es keine Garantie gibt.

Im Windkanal testeten russische Ingenieure bereits vor Jahren ein ähnliches Großraumpassagierflugzeug - damals noch geplant als Kooperation mit China.
Wer soll dieses Flugzeug bauen?
Die Gretchenfrage, die angesichts dessen umso deutlicher im Raum steht, bleibt in Russland aber weiter ohne Antwort: Wer soll solch ein Flugzeug bauen, möglichst rasch und möglichst auch in Serie? Schließlich war der russische Zusammenschluss mit China für die CR929 einst keine Liebesheirat, sondern diente vor allem dem Zweck, Produktionskapazitäten zu erschließen, die man selber nicht besaß.
An diesem Manko hat sich nach wie vor nichts Weltbewegendes geändert, ungeachtet der anhaltend großen Bemühungen, die russischen Flugzeugfabriken und Zulieferbetriebe aufzustocken und zu modernisieren. Weite Teile der russischen Luftfahrtindustrie sind neben dem militärischen Bereich bis auf Weiteres durch die zivilen Programme Jakowlew MS-21, Superjet SJ-100 oder Iljuschin Il-114-300 gebunden, die ihrerseits selbst ihrem eigentlichen Zeitplan um Jahre hinterherhinken. Dasselbe gilt für das Großtriebwerk PD-35, dessen Entwicklung nicht wie geplant voranschreiten kann, weil die Antriebe für Superjet und MS-21, PD-8 und PD-14, Priorität haben. Die Flugzeugwerke sind auf absehbare Zeit mehr als ausgelastet, wenn nicht überlastet – und brauchen zum Teil Jahre, althergebrachte Muster wie die in Woronesch im Manufakturbetrieb gebaute Il-96 in homöopathischer Stückzahl fertigzustellen.
Russlands Nadelöhr: Fabriken
Signifikante Änderungen an diesen Umständen zeichnen sich bislang nicht ab. Ob Russland in der Lage sein wird, innerhalb eines akzeptablen Zeithorizonts ein Mammutprojekt wie das SchFDMS zu verwirklichen, in die Serienfertigung zu bringen und zum Erfolg zu führen, ohne schmerzhafte und kaum verkraftbare Abstriche bei den bereits laufenden Programmen zu machen, darf daher bezweifelt werden. An der Notwendigkeit eines modernen Großraumflugzeugs für die russischen Fluggesellschaften ändert das allerdings nichts. Ewig wird man dort nicht mit den vor 2022 importierten West-Widebodies fliegen können – es sei denn, man nimmt sich den Iran zum Vorbild, der seit Jahrzehnten unter Umgehung internationaler Sanktionen eine (veraltete) Flotte aus Airbus- und Boeing-Langstreckenjets irgendwie am Laufen hält. Das wiederum kann letzten Endes aber auch nicht Russlands Anspruch sein.







