Das Schukowski-Institut hat ein Design für ein Überschallpassagierflugzeug patentiert. Es soll ein technisches Problem lösen, an dem bisherige Projekte scheiterten: Das Flugzeug soll mit reduziertem Lärmaufkommen fliegen können und beim Durchbrechen der Schallmauer keinen Überschallknall produzieren.
Das Schukowski-Institut bei Moskau ist eine der führenden russischen Forschungseinrichtungen für Luft- und Raumfahrt. Offiziell heißt es Zentrales Aerohydrodynamisches Institut (ZAGI).
Unter anderem arbeitete das Institut an der (mittlerweile eingestellten und von China allein weiterbetriebenen) Entwicklung des russisch-chinesischen Langstreckenjets CR929 sowie an zahlreichen russischen Trägerraketen.
Überschallflüge zu laut
Ziviler Überschallflug ist für Russland kein völliges Neuland: Die sowjetische Tupolew Tu-144 und die britisch-französische Concorde gelten als technische Meilensteine auf diesem Gebiet. Beide Überschallverkehrsflugzeuge wurden jedoch aus dem Verkehr gezogen.
Ein Grund war das Lärmaufkommen. Flüge mit Überschallgeschwindigkeit erzeugen den sogenannten Sonic Boom – den berüchtigten Überschallknall. Die Lärmbelastung am Boden ist erheblich.
Neues Design soll Abhilfe schaffen
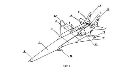
Das nun patentierte Design sieht ein Flugzeug vor, das mit Mach 1.7 fliegen kann und dabei den Überschallknall auf etwa 95 Dezibel reduziert. Auch der Lärm beim Start und bei der Landung soll geringer ausfallen.
Der Entwurf kombiniert dazu mehrere Komponenten. Eine gepfeilte Tragfläche, spezielle Lufteinlässe und Schubdüsen sollen das Problem lösen und gleichzeitig die Aerodynamik verbessern. Auch die lange, schmale Nase des Entwurfs soll zur Reduzierung des Überschallknalls beitragen.

So soll das Flugzeug aussehen.
Anstatt das Triebwerk nur als Schubquelle zu nutzen, will das Institut es in die Kontrolle der Druckwellen integrieren. Dadurch wird die Lärmkontrolle nicht allein durch die aerodynamische Form des Flugzeugs erreicht. Die Rumpfgeometrie und die Strömungsverhältnisse im Triebwerk sollen zusammenwirken.
Fluggesellschaften haben Interesse
Das ZAGI berichtet bereits von Interesse durch Fluggesellschaften. Eine Flotte von dutzenden Flugzeugen soll möglich sein. Hauptzielgruppe wären zunächst Passagiere der Business- und First Class. Aber wie realistisch ist das?
Ein Patent ist noch keine Garantie dafür, dass daraus ein funktionsfähiges Flugzeug wird und vor allem nicht dafür, dass es sich später auch verkauft. Zudem sind Überschallflugzeugprogramme in der Vergangenheit häufig weit über das veranschlagte Budget hinaus gegangen.
International arbeiten eine Reihe von Forschern an ähnlichen Projekten. In den USA testet beispielsweise die NASA derzeit einen Prototyp, die X‑59. Auch das private Unternehmen Boom Supersonic versucht in den USA weiterhin, mit seinem Überschall-Airliner Overture ans Erbe der Concorde anzuknüpfen.
Mit dem Strisch-Projekt entwarf das Schukowski Institut bereits vor Jahren das Design für einen Überschallbusinessjet. Die Strisch soll Geschwindigkeiten von etwa Mach 1.7 bis 1.8 erreichen und wie das neue Patent nur einen abgedämpften Überschallknall erzeugen. Ausgelegt ist sie bisher für sechs bis 28 Passagiere.
Ein Prototyp der Strisch existiert bisher nicht. Ein erster Demonstrator hätte 2021 fertig sein sollen. Die Serienproduktion war für 2030 angedacht. Dem Zeitplan machten allerdings die Sanktionen nach Beginn des Ukrainekrieges einen Strich durch die Rechnung.
Triebwerke und Geräuschdämpfungssysteme wurden im Rahmen des Projektes allerdings bereits erfolgreich getestet. Ende vergangenen Jahres wurde angekündigt, dass ein Prototyp des Businessjets 2029 fliegen soll.
Das Institut ist auch an der Entwicklung von Komponenten des rein-russischen Superjet SJ-100 und der Jakowlew MS-21 beteiligt. Die Projekte machen nach einer langen Verzögerung nun auch konkrete Fortschritte in Richtung Zulassung.
Dass nach dem Patent auch das Überschallflugzeug Form annimmt, ist zumindest innerhalb der kommenden Jahre allerdings nicht zu erwarten. Ein interessanter Ansatz ist der ZAGI-Entwurf trotzdem allemal.





